Assistente Administrativo I - 2016
Assinale a alternativa que contém o comando do Linux que abre o aplicativo que permite editar ou criar arquivos pelo usuário.
Observe os valores das células na planilha Calc do Apache Open Office 4, a seguir.
A fórmula para calcular imposto é dada a seguir. Essa fórmula foi inserida na célula C2 e copiada até a célula C7:
=SE(B2>750000;B20,2;SE(B2>500000;B20,15;SE (B2>100000;B2*0,1;0)))
Assinale a alternativa com o valor correto do imposto do Terreno, do Apartamento e da Casa, respectivamente.
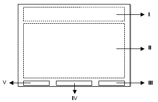
Observe a barra lateral à direita da apresentação feita no Impress do Apache Open Office 4, exibida na figura.
No slide apresentado, o usuário precisa configurar uma sequência específica para alguns objetos surgirem, outros desaparecerem e alguns movimentarem-se da esquerda para a direita durante a apresentação. Para fazer essa configuração, é necessário clicar no ícone










